Patent:SE47800
| Patent: | SE 47800 |
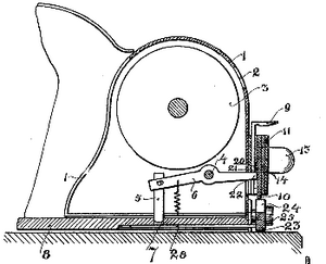
| Titel: | Stegförflyttningsanordning för räkneverkssläden vid räknemaskiner |
| Datum: | 11.04.1917 |
| Ort: | Malmö |
| Land: | Schweden |
| Person: | W.O.J. Anderson |
| Firma: | AB Svenska Raeknemaskiner (P) |
| Links im Rechnerlexikon: | |
| Schlagworte: | |
| Link zum Patentamt: (ohne Garantie) | SE47800 |
![[Hauptseite]](/upload/wiki.png)
Hauptseite

SE47800